КаталогПассивные компонентыРезисторы, потенциометрыПрецизионные резисторыРезисторы металлопленочные с винт. зажимами до 600 WLTO100FR1000FTE3

LTO100FR1000FTE3, Power resistor 0.1 Ohm 100 W +- 1 %, Vishay

Арт: 160-24-261
  • добавить в избранное
  • Арт: 160-24-261
  • Наименование: LTO100FR1000FTE3
  • Производитель: Vishay
  • Доп.наименование: Power resistor 0.1 Ohm 100 W +- 1 %
  • Склад:
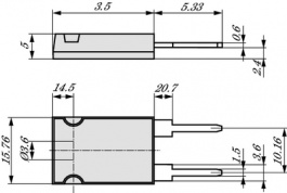
    Изображение товара дано только в качестве иллюстрации. См. спецификацию продукта (pdf)
    Заказать Цены указаны без НДС

    Power resistor 0.1 Ohm 100 W +- 1 % Семейство Силовые резисторы 100 W
    Толстопленочные силовые резисторы в изолированном корпусе TO-247
    Резисторы с малой индуктивностью на алюминиевой подложке Технические параметры
    • Manufacturer: Vishay
    • Допуск: ±1 %
    • Импеданс: 0.1 Ω
    • Температура, мин.: -55 °C
    • Форма конструкции: TO-247
    • Температура, макс.: +125 °C
    • Температурный диапазон: -55...+125 °C
    • Испытательное напряжение: 1500 В
    • Температурный коэффициент: ±150 ppm/°C
    • Номинальные характеристики выхода: 100 Вт
    • Условное обозначение сопротивления: 0E1
    • Тепл.сопр-ние относительно баз.платы: 1.5 K/W
    BC Сomponents

    Компания BC Сomponents (Beyschlag Centralab), ведущий европейский изготовитель пассивных электронных компонентов, возникла при разделения компании Philips в январе 1999. С 2002 года BC Сomponents входит в состав компании Vishay. Прежний портфель и... Читать далее >